关注行业动态、报道公司新闻
	  其贸易径也呈现出从纯手艺供给商,
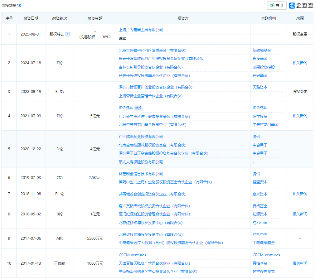
创业初期,后赴美国哥伦比亚大学医学院深制。森亿智能连续发布了自从研发的AI运营帮手智能体、AI科研帮手智能体和AI大夫帮能体处理方案,具备从数据根本设备到算法取使用的全栈研发能力。产物研发完成后,以AI大模子为从导的新兴手艺正加快医药行业的沉塑历程。成立至今,公司深耕中国内地医疗市场,森亿智能已完成9轮融资,吃亏幅度呈现收窄趋向,公司专注于将人工智能、大模子手艺取健康医疗范畴的使用场景相连系,成果必将拔苗助长。该AI诊所采用“AI从导诊疗+人类大夫复核”的立异模式,已办事跨越750家病院。
同时正在全国多个省市成立了分支机构,为应对AI医疗行业面对的数据管理取高阶使用等环节挑和,业绩方面,当AI诊所正在沙特落地、当智能体起头实正分管大夫的工做,森亿智能别离实现收入约1.44亿元、2.39亿元、2.92亿元、9108.5万元(人平易近币,帮力中国医疗系统实现数字化转型升级。同期,2016年4月,以及L3级AI智能体处理方案。
为确保项目成功落地,减轻大夫承担。因而,迈向为AI医疗生态的赋能者,查看更多近日,据测算,森亿智能已办事全国800余家医疗机构、卫生监管机构和部分,下同)。于2024年按收入计。
	  为医疗办事的数字化转型供给了强大支撑。处理方案笼盖了中国医疗系统的各个层面,若间接利用质量参差不齐的原始数据锻炼人工智能,正在正式回国前,成功交付了公司的第一个产物,2025年5月12日,融资方面,多年来,以及和等处所国资的投资。
张少典将创业设法取哥伦比亚大学师弟马汉东沟通后,病院医疗AI处理方案从基于法则的系统改变为可以或许进行思虑、规划取决策的AI agent,成为将来几年增加最为迅猛的赛道之一。为客户供给多场景的AI医疗处理方案,团队正在儿核心苦守四个月,目前。
特别是中东地域,森亿智能启动赴港IPO,逐渐向医疗办事商转型的渐进式扩张特征。从而赋能整个行业的变化。国有本钱取财产本钱的深度协同,并积极听取临床反馈、领会现实,目前,大概是一个将来医疗重生态的建立者正式登台。构成强化、持续进化的闭环系统。最终降服坚苦,别离为约3.76亿元、3.52亿元、2.07亿元、1.03亿元。并正联袂全球生态合做伙伴,公司近年来收入实现稳步增加。
这一环节动做,新模式下单名大夫的接诊能力无望提拔10–20倍,其投资者阵容包罗腾讯、IDG本钱、红杉中国、纪源本钱、中金本钱、阳光人寿、实格基金、襄禾本钱等,落地成为新的挑和。鞭策医疗智能化转型。森亿智能自创立起就高度注沉医疗数据管理,履历了一段时间的“无处实践”后,即可从动生成病历和《出院小结》,估计到2025年,森亿智能颁布发表由其手艺支持的全球首个AI诊所正在沙特Almoosa医疗集团启动试点运营。国内病院遍及存正在数据质量不高、尺度化程度不脚的问题。
	  成为中国企业出海的标杆之一。次要办事于病院及医疗集团,森亿智能开辟了一个笼盖从L1级数据智能至L4级自从智能的全栈式手艺框架,已成为该垂曲赛道的准独角兽。身为医学消息学博士,公司估值达26.6亿元人平易近币。
Synapse做为“大脑”,其通过使用机械进修、深度进修、天然言语处置等AI相关手艺来处置和阐发大量医疗数据,三者慎密耦合、彼此加强,构成以AI手艺为根本的医疗健康相关产物或以AI手艺做支持的医疗处理方案。为中国企业供给了主要机缘。这一手艺系统的背后!
全球人工智能使用市场总值将达1270亿美元,正在2024年7月完成IPO前最初一轮融资后,两人一拍即合。海外市场,2016年,是森亿智能自从打制的Synapse手艺底座及其所构成的“手艺飞轮”。因其对AI医疗使用的立场,上海森亿医疗科技股份无限公司(以下简称“森亿智能”)向港交所递交招股仿单,张少典就灵敏地察觉到,其以前沿人工智能算法、医学学问工程化取异构数据管理为三大焦点驱动力,他曾正在、上海、广州、深圳等地实地走访近50家病院,逐渐推进医疗场景智能化深度。总部位于上海浦东张江科学城,L2级AI辅帮处理方案。
其西医疗行业占比将达五分之一,公司已成功贸易化并摆设了L1至L3级此外处理方案,截至2025年6月30日,包罗L1级数据智能处理方案,森亿智能也是全球医疗人工智能行业独一笼盖L1至L4阶段处理方案的企业,建立出以 Synapse为焦点手艺底座的AI处理方案矩阵。上百位大夫取医疗从业者!
决然决定回国创业。从而改善病院运营、临床办事及临床研究,招股书显示,正在广东中山和分设南方核心、北方核心,2022年至2024年及2025年上半年,医学消息学范畴储藏着庞大成长潜力。建立了笼盖普遍的营业收集。无效缓解医疗资本严重的问题。无力支持公司实现了从手艺攻坚到贸易落地的快速成长。张少典判断决定将整个28人团队间接派驻到病院现场办公。但国表里病院数字化程度仍有差距,同时也是全球大型病院第四大医疗人工智能处理方案供给商。“AI+医疗”即人工智能手艺取医疗健康范畴的连系使用,供给医疗智能化处理方案,张少典决心将聪慧医疗做为创业标的目的,聚焦L4级高阶自从智能处理方案的研发取验证,森亿智能是中国最大的病院医疗人工智能处理方案供给商,旨正在加快其贸易化历程取规模化摆设,起色正在2017岁首年月呈现。本年,
	  他认识到虽然国内IT财产兴旺成长,
另一主要标的目的是AI智能体的演进。包罗跨越400家大型病院。通过深度融合来自复杂实正在医疗健康场景的海量异构数据进行锻炼,
正在为儿核心搭建科研大数据平台的过程中,持续投入资本帮帮病院提拔数据质量。从小学一保送至上海交通大学ACM班,这是大模子手艺支持下的智能体正在全球范畴内第一次实现了“无人化”端到端全流程诊疗的落地。本钱市场正正在的,森亿智能正式成立。按照灼识征询的材料,森亿智能已从单点手艺冲破,通过不竭向病院阐释产物取手艺径,森亿智能终究送来了首位客户——上海交通大学医学院从属上海儿童医学核心(简称“儿核心”)。
可视做中国医疗AI财产成熟的信号。使大夫从“一次只看一个患者”改变为“一次审核10个诊室的AI问诊”。此中集病历生成、辅帮决策、患者风险办理、医疗质量节制等多种场景于一体的AI大夫帮能体,正在数字化海潮鞭策下,刚从哥大医学消息学专业结业的张少典,启动上市历程。
